Inovaţie medicală românească, premiată Salonului Internațional de Invenții de la Geneva
Pansament biorezonant destinat vindecării rapide a plăgilor conceput de specialiştii români a fost premiat la Salonului Internațional de Invenții de la Geneva în 2014.

Proiectat, creat și fabricat în România, pansamentul biorezonant destinat vindecării rapide a plăgilor a atras atenția inclusiv oamenilor de știință din afara țării. În urma participării la Salonul International de Invenții de la Geneva din anul 2014 Juriului International a recunoscut utilitatea şi importanta medicală a acestui dispozitiv medical, atribuind Diploma şi Medalia de Argint pentru invenția Pansament biorezonant pentru vindecarea rapidă a rănilor.
Echipa care a creat pansamentul biorezonant este formată din Marian Velcea, Mircea Negruță şi Cătălin Hideg de la SC SaniMed International SRL.
Ce este pansamentul biorezonant destinat vindecării rapide a plăgilor
Una dintre nevoile cele mai mari ale chirurgilor și pacienților de chirurgie care au suferită multiple răni și traumatisme este urgentarea timpilor de vindecare.

Un procedeu revoluționar care poate asigura scurtarea timpului necesar reparării traumelor la nivelul pielii și mușchiului este furnizarea corpului un supliment ușor asimilabil de colagen, pe care celulele sănătoase din zona afectată să-l poată utiliza şi astfel să se producă vindecarea accelerată.

Observațiile de laborator au permis stabilirea, nu doar proprietatea, tuturor celor 13 tipuri de colagen pe care le regăsim şi în organismul uman de autoasamblare in vitro sub diferite forme modelabile, ci și proprietățile piezoelectrice ale acestuia.
Pe scurt, molecula de colagen aflată în mediu magnetic/ electromagnetic capătă o orientare şi polaritate specifice, aspect care mărește semnificativ posibilitatea corpului de a asimila surplusul de colagen dintr-un astfel de pansament.
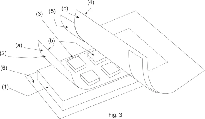
Experimentele desfășurate sub egida Universității Politehnice Bucureşti coordonate de dl Prof univ. Ioan Plotog au demonstrat că interacțiunea dintre câmpul electromagnetic al dispozitivului electronic pasiv (fără sursa de energie proprie) şi structura de colagen din pansament conduc la un fenomen de rezonanță similar celui din acul de pick-up, producând o accelerare a transferului factorilor de creștere şi a celorlalte componente de la pansament in rana pacientului. Efectul vizibil este acela al accelerării vitezei de vindecare a rănilor adânci. Figura atașata prezinta schematic structura acestui pansament revoluționar, in care compoziția pansamentului, electronica circuitelor pasive (3) şi proprietățile piezoelectrice ale colagenului (1) duc la un efect sinergic de vindecare rapida a traumatismelor profunde ale pielii şi cărnii. Pansamentul poate fi utilizat atât pe oameni, cat şi pe animale.

Președintele Salonului International Geneva – Jean Luc VINCENT, atribuind Medalia de Aur inventatorului Marian Velcea pentru invenția Pansament Biorezonant.



























